Berikut ini kami sajikan 5 contoh soal pesawat sederhana yang membahas tentang katrol.
Contoh Soal No. 1
Benda 200 kg ditarik ke atas. Berapa gaya tarik dan keuntungan mekanisnya jika digunakan:
- sebuah katrol tetap;
- sebuah katrol bergerak;
- sebuah takal yang terdiri dari 4 katrol!
Jawaban:
w = m x g
w = 200 x 10 = 2000 N
Kentungan mekanis untuk:
1. Sebuah katrol tetap = 1
F = w/KM = 2000 N/1 = 2000 N
2. Sebuah katrol bergerak = 2
F = w/KM = 2000 N/2 = 1000 N
3. Sebuah takal yang terdiri dari 4 katrol = 4
F = w/KM = 2000 N/4 = 500 N
Contoh Soal No. 2
Perhatikan gambar berikut!
Berapakah besar beban yang ditarik oleh katrol majemuk di atas?
Pembahasan:
Diketahui:
F = 8 N
Pada katrol di atas, tali yang menahan beban ke atas ada 4, sehingga keuntungan mekanisnya sama dengan 4.
Ditanyakan: w = ….?
Jawaban:
KM = w/F
w = KM x F
w = 4 x 8 N = 32 N
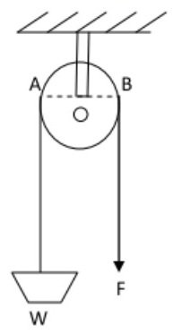
Contoh Soal No. 3
Perhatikan gambar katrol berikut ini!
Tentukan gaya yang diperlukan dan keuntungan mekaniknya dari beban 300 N!
Pembahasan:
Diketahui:
w = 300 N
Ditanyakan: F dan KM = …?
Jawaban:
F = w = 300 N
KM = w/F = 300 N/ 300 N = 1 kali
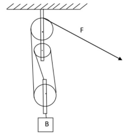
Contoh Soal No. 4
Perhatikan gambar katrol berikut!
Tentukan gaya yang diperlukan katrol tersebut serta keuntungan mekaniknya apabila berat beban sebesar 300 N!
Pembahasan:
Diketahui:
w = 300 N
Ditanyakan: F dan KM = …?
Jawaban:
Pada katrol di atas, tali yang menahan beban ke atas ada 3, sehingga keuntungan mekanisnya sama dengan 3.
KM = w/F
F = w/KM
F = 300 N/ 3 = 100 N
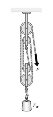
Contoh Soal No. 5
Bila berat beban adalah 2000 N, berapakah gaya yang diperlukan untuk mengangkat beban dengan menggunakan katrol jenis ini?
Pembahasan:
Diketahui:
w = 2000 N
Ditanyakan: F = ….?
Jawaban:
Pada katrol di atas, tali yang menahan beban ke atas ada 4, sehingga keuntungan mekanisnya sama dengan 4.
KM = w/F
F = w/KM
F = 2000 N/ 4 = 500 N



